Наличие товара на складе и актуальность цен уточняйте у наших менеджеров
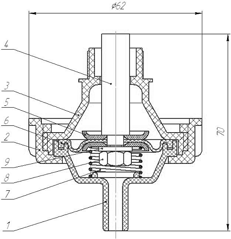
1 – Воронка ДПР 35.018;
2 – Гайка УД 02.006;
3 – Корпус АДМ 25.005;
4 – Стержень АДМ 25.616;
5 – Тарелка УД 02.004;
6 – Диафрагма УД 02.007;
7 – Пружина АДМ 25.615;
8 – Гайка М6;
9 – Шайба 6
2 – Гайка УД 02.006;
3 – Корпус АДМ 25.005;
4 – Стержень АДМ 25.616;
5 – Тарелка УД 02.004;
6 – Диафрагма УД 02.007;
7 – Пружина АДМ 25.615;
8 – Гайка М6;
9 – Шайба 6
