Устройство предназначено для
измерения удоя молока от одной
коровы. Устройство позволяет
производить отбор проб молока
для определения его качества.
Устройство может применяться на
доильных установках любого типа
оборудованных молокопроводом.
Подробнее
Наличие товара на складе и актуальность цен уточняйте у наших менеджеров
|
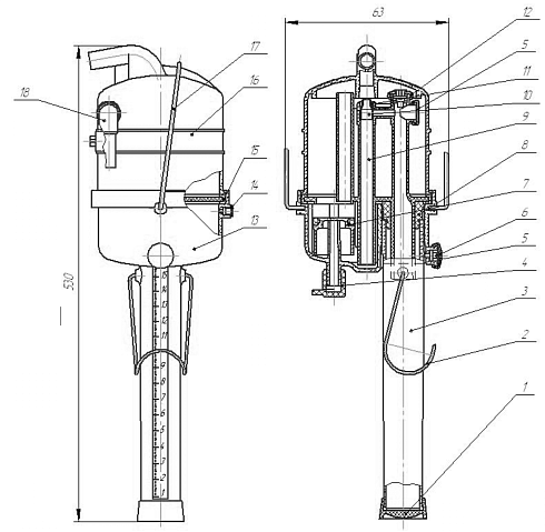
1 – Колпак УЗМ-1А.011; 2 – Скоба УЗМ-1А.602; 3 – Мензура УЗМ-1А.009; 4 – Клапан УЗМ-1А.006; 5 – Колпачок УЗМ-1А.004; 6 – Фиксатор УЗМ-1А.019; 7 – Поплавок УЗМ-1А.020; 8 – Пробка УЗМ-1А.002; 9 – Разделитель УЗМ-1А.001; |
10 – Наконечник УЗМ-1А.801; 11 – Кольцо УЗМ-1А.005; 12 – Клапан УЗМ-1А.060; 13 – Камера УЗМ-1А.050; 14 – Фильтр УЗМ-1А.007; 15 – Прокладка УЗМ-1А.031; 16 – Колпак УЗМ-1А.032; 17 – Дуга УЗМ-1А.612; 18 – Угольник УЗМ-1А.008 |
