Наличие товара на складе и актуальность цен уточняйте у наших менеджеров
|
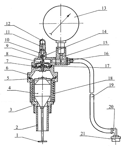
1 – Успокоитель ШРИБ-115-01.005; 2 – Патрубок (шумопоглатитель) ШРИБ-115-00.823; 3 – Корпус ШРИБ-115-00.003; 4 – Груз ШРИБ-115-00.606; 5 – Мембрана ШРИБ-115-00.016; 6 – Корпус ШРИБ-115-00.004; 7 – Мембрана ШРИБ-115-00.017; 8 – Опора ШРИБ-115-00.013; 9 – Пружина ШРИБ-115-00.618; 10 – Крышка; 11 – Винт регулировочный; 12 – Колпачок ШРИБ-115-00.021; |
13 – Вакуумметр ВП3-УУ2-100кПа х1,5; 14 – Колпачок ШРИБ-115-00.014; 15 – Втулка ШРИБ-115-00.007; 16 – Штуцер ШРИБ-115-00.608; 17 – Винт ШРИБ-115-00.609; 18 – Фильтр ШРИБ-115-00.024; 19 – Шланг ШРИБ-115-00.022, 20 – Угольник МДФ 02.005; 21 – Уплотнитель УД 31.005А |
